Zaślepka STORZ - Zaślepka z Zamkiem i Łańcuchem - z Mosiądzu
Oryginalna zaślepka do złączy STORZ, produkowana przez niemiecką firmę Feuer-Vogel, z mosiądzu. Korek wyposażony w zamek blokujący, kluczyk i łańcuszek. Dodatkową cechą złącza jest uszczelnienie wykonane z NBR, zapewniające wysoką szczelność i ochronę przed przeciekami. Znajduje ono zastosowanie w przemysłowym tłoczeniu płynów w przemyśle, rolnictwie czy petrochemii i dystrybucji paliw. Materiał ten polecany jest zwłaszcza do stosowania przy przesyle paliw, olejów, ropy naftowej i substancji łatwopalnych w strefach zagrożonym wybuchem.
Potrzebujesz pomocy przy wyborze tego produktu?
Skorzystaj z poniższych zasobów:

Ciśnienie do 16 bar. (tabela ciśnienia, w opisie kategorii głównej - tutaj)
Uszczelnienie NBR.

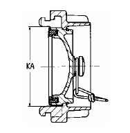
rozmiar rozstaw zaczepów KA [mm] uwagi nr artykułu
52-C 66 -
52-C 66 klucz uniwersalny
75-B 89 -
75-B 89 klucz uniwersalny

Właściwości użytych materiałów i zastosowanie.

Złącze zaślepiające "Storz" (Strażackie) z kluczykiem i łańcuszkiem wykonane z mosiądzu, z uszczelką z NBR.

Ogólne właściwości materiałów:

Stopy aluminium, poza glinem zawierają cynk, miedź, krzem, mangan i wiele innych metali. Charakteryzują się dużą wytrzymałością i twardością, oraz niską wagą. Dzięki odporności na korozję i małą gęstość, używa się tego materiału do wyrobu złączy niskociśnieniowych wszędzie tam, gdzie istotna jest niska waga produktu, czyli np. w systemach hydraulicznych, w przemyśle samochodowym, lotniczym, w automatyce i cybernetyce. Dzięki zastosowaniu techniki zwanej anodowaniem, zwiększa się odporność stopu na zużycie, czy przetarcie. Stopy te charakteryzują się również dobrą odpornością chemiczną na przesyłane media, dzięki czemu często polecane są w połączeniu z przewodami z tworzyw sztucznych.

Większa odporność materiału na korozję oznacza dłuższą żywotność przewodu, a co za tym idzie oszczędność ekonomiczną w porównaniu do częstej wymiany złączy o niższej cenie, i niższych parametrach odpornościowych.

NBR zwany potocznie gumą olejoodporną jest kopolimerem butadienu i akrylonitrylu, procentowy skład tych związków decyduje o jej odporności na oleje i niską temperaturę. Może pracować od -20°C do +70°C dla gorącej wody, czy nawet +164°C dla pary wodnej. Guma ta wykazuje odporność na oleje silnikowe, opałowe, transformatorowe, smary, płyny hydrauliczne, węglowodory alifatyczne, propan, butan, benzynę, alkohole, wodne roztwory soli, rozcieńczone kwasy i zasady w niewysokich temperaturach. Świetnie pracuje w ścisku, przy dużych ciśnieniach. Guma ta wykazuje niską odporność na oleje i smary silikonowe, płyny hamulcowe na bazie glikolu, ciecze hydrauliczne typu HFD, stężone kwasy i ługi, węglowodory aromatyczne i chlorowane (np. benzen, tri), estry.

Zastosowanie

System "Storz" to system złączy, który został wymyślony przez Carla Augusta Guido Storza w 1882 roku i opatentowany w 1893 roku. W Polsce jest on powszechnie znany jako złącza strażackie lub hydrantowe. Charakteryzuje się on unikalną, symetryczną konstrukcją, która eliminuje potrzebę posiadania oddzielnych części męskich i żeńskich. Rozmiar złącza definiuje się głównie przez rozstaw zaczepów, a do ich zamykania stosuje się klucze hakowe dostępne w różnych rozmiarach. Aby połączyć dwa elementy, wystarczy obrót o ćwierć obrotu (90 stopni), co gwarantuje mocne i bezpieczne połączenie.

System zyskał popularność jako doskonała alternatywa dla tradycyjnych połączeń gwintowanych, oferując szybkie i szczelne łączenie, co jest niezwykle przydatne w pożarnictwie oraz różnych dziedzinach przemysłu. Złącza te są przystosowane do pracy zarówno z ciśnieniem, jak i podciśnieniem, do wartości do 16 bar. Umożliwiają one przesyłanie różnorodnych mediów, zarówno płynnych, jak i sypkich, znajdując zastosowanie w cysternach do transportu substancji takich jak ciecze ropopochodne, kwasy, woda, fekalia, chemikalia czy materiały cierne. Złącza wykonane z mosiądzu stosowane są w przemyśle chemicznym, petrochemicznym, spożywczym, rolnictwie, przemyśle okrętowym czy przy przeładunku paliw.

Zaślepka do złączy zaczepowych Storz, z funkcjonalnym łańcuszkiem przeznaczona jest do stosowania do zabezpieczania przewodów i elementów instalacji przesyłowych przed niekontrolowanym wyciekiem medium i zanieczyszczeniem. Łańcuszek pozwala na zabezpieczenie korka przed zagubieniem podczas pracy instalacji. Zastosowanie blokującego złącze zamka i kluczyka pozwala zabezpieczyć przyłącze przed nieuprawnionym użyciem. Rozwiązania tego typu, mają zastosowanie w miejscach, do których dostęp mogą mieć nieuprawnione osoby, np. przy publicznych hydrantach, czy w cysternach przewożących niebezpieczne substancje chemiczne.



Interesują Cię inne produkty, potrzebujesz fachowego doradztwa?
Zadzwoń do nas, a nasi specjaliści dobiorą produkty dostosowane do Twoich potrzeb.
kontakt do firmy Intertech
Korzystamy z zabezpieczeń Google reCAPTCHA.
Obowiązują Polityka prywatności, Warunki użytkowania usług Google oraz Polityka prywatności INTERTECH.
Copyright 2026 INTERTECH Importer węży i złączy dla przemysłu. Wszelkie prawa zastrzeżone. Developed by Cansoft sp. z o.o.