Kran z Zaworem Kulowym - Mosiadz Niklowany - do Zastosowań Gospodarczych - KARASTO
Kran z zaworem kulowym GEKA® z mosiądzu niklowanego, z gwintem zewnętrznym i króćcem do węża nakręcanym na przyłącze gwintowane. Łatwy montaż dzięki pierścieniowi sześciokątnemu pod klucz. Uniwersalne zastosowanie przy przesyle mediów ciekłych i gazowych głównie w lekkich zastosowaniach przemysłowych i gospodarczych. Maksymalne ciśnienie pracy 10 bar.

Ciśnienie robocze [bar] 10.
Temperatura pracy [°C] od 0°C do 80°C, powietrze od -15°C do 110°C.
Materiał Mosiądz CW617N chromowany, z uszczelnieniem PTFE. Gwintowane przyłącze węża: Mosiądz, niklowany, Rączka: stal pomalowana na czerwono.
Medium woda, powietrze
Uszczelnienie Kula z uszczelnieniami z PTFE; wrzeciono z dwoma O-ringami NBR. Gwintowane przyłącze węża z uszczelnieniem NBR i wkładką z tworzywa.

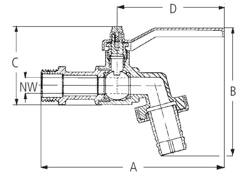
gwint NW [mm] A [mm] B [mm] c [mm] D [mm] nr id nr artykułu
1/2“ - 20.95 mm 9 125 79 40 77 3101S
3/4“ - 26.44 mm 12 138 87 46 77 3103S
1“ - 33.25 mm 15 153 113 52 85 3104S

Właściwości użytych materiałów i zastosowanie.

Kran z zaworem kulowy z gwintem zewnętrznym i wewnętrznym z pełnym przepływem, z mosiądzu chromowanego, z elementami z aluminium i uszczelkami z PTFE, i NBR.

Ogólne właściwości materiałów:

Mosiądz niklowany stosuje się dla zachowania fizycznych właściwości którymi charakteryzuje się mosiądz, ale potrzebna jest odporność powierzchni wyrobu na śniedzenie, czyli zjawisko korozji metalu, oraz zabezpiecza przed zjawiskiem odcynkowania, które polega na wypłukiwaniu ze struktury stopu atomów cynku. Dochodzi do tego zjawiska w środowisku zawierającym chlor, który rozpuszcza cynk i doprowadza do zgąbczenia materiału. Taki materiał traci wówczas wytrzymałość, co może skutkować w przypadku przewodów przesyłowych, uszkodzeniem mienia, zdrowia a nawet życia operatorów. Na odcynkowanie mosiądzu wpływ ma również praca przy wysokich temperaturach, oraz w kwaśnym środowisku (substancje o niskim pH). Nałożona na mosiądz warstwa ochronna z czasem ulega mechanicznemu ścieraniu. Zwykle ten proces jest bardzo powolny i może trwać kilka lat.

Elementy wykonane z tego materiału znajdują zastosowanie zwłaszcza przy przesyle niskociśnieniowym w niskich temperaturach. Najczęściej stosowany do wody i nieagresywnych mediów w ogrodnictwie, w rolnictwie i przy lekkich zastosowaniach przemysłowych, zwłaszcza związanych z utrzymaniem czystości. Mosiądz może być również wykorzystywany w instalacjach do przesyłu nieagresywnych mediów gazowych. Materiał ten jest odporny na warunki atmosferyczne i promieniowanie UV, jednak nie zaleca się narażenia go na szybkie ścieranie mechaniczne.

Politetrafluoroetylen czyli PTFE to polimer fluorowy, który otrzymuje się poprzez polimeryzację tetrafluoroetylenu. Materiał powszechnie znany pod nazwą handlową teflon, ale również polyflon czy tarflen. Jest termoplastem o wysokiej sprawności i właściwościach semikrystalicznych. Materiał ten uważa się za jeden z najbardziej stabilnych termicznie, wyróżnia się bardzo dużą odpornością na działanie niemal każdego znanego pierwiastka, związku chemicznego czy rozpuszczalnika. Stosowany jest między innymi do wyrobu aparatury chemicznej, do budowy maszyn, w kriotechnice, technice filtracyjnej, medycznej czy w przemyśle spożywczym.

NBR zwany potocznie gumą olejoodporną jest kopolimerem butadienu i akrylonitrylu, procentowy skład tych związków decyduje o jej odporności na oleje i niską temperaturę. Może pracować od -20°C do +70°C dla gorącej wody, czy nawet +164°C dla pary wodnej. Guma ta wykazuje odporność na oleje silnikowe, opałowe, transformatorowe, smary, płyny hydrauliczne, węglowodory alifatyczne, propan, butan, benzynę, alkohole, wodne roztwory soli, rozcieńczone kwasy i zasady w niewysokich temperaturach. Świetnie pracuje w ścisku, przy dużych ciśnieniach. Guma ta wykazuje niską odporność na oleje i smary silikonowe, płyny hamulcowe na bazie glikolu, ciecze hydrauliczne typu HFD, stężone kwasy i ługi, węglowodory aromatyczne i chlorowane (np. benzen, tri), estry.

Stal to stop żelaza, który charakteryzuje się wysoką wytrzymałością i twardością oraz jest jednym z najczęściej używanych materiałów konstrukcyjnych na świecie. Stal powstaje poprzez dodanie węgla do żelaza, co zmienia jego właściwości mechaniczne, takie jak wytrzymałość na rozciąganie, twardość czy plastyczność. Stal może zawierać również inne pierwiastki, takie jak krzem, mangan, nikiel, chrom czy molibden, które wpływają na jej właściwości i zastosowania. Wykorzystuje się ją w różnych dziedzinach przemysłu, takich jak budownictwo, motoryzacja, lotnictwo, energetyka czy przemysł maszynowy. Dzięki swoim wszechstronnym właściwościom, stal jest niezastąpionym materiałem w wielu dziedzinach przemysłu i inżynierii.

Normy

Produkt zgodny z rozporządzeniem Parlamentu i Rady Unii Europejskiej (UE) 2019/1021, które dotyczy trwałych zanieczyszczeń organicznych, mogących na trwałe przenikać do środowiska, czy organizmów żywych. Zgodnie z tym rozporządzeniem, oraz zgodnie z rozporządzeniem (WE) nr 1907/2006 (znanym jako REACH) wyroby proponowane przez producenta, spełniają normy ilościowe zawartych substancji. Pełna treść rozporządzenia w języku polskim dostępna tutaj >>>

Zgodnie z art. 33 rozporządzenia (EC) nr 1907/2006, zwanym rozporządzeniem REACH, producent informuje, iż użyty do produkcji złączek mosiądz, może zawierać więcej niż 0,1% masy całkowitej Ołowiu (Pb), który figuruje na tzw. "Liście Kandydatów" substancji wzbudzających szczególnie duże obawy (SVHC). Ołów uważany jest za substancje niebezpieczną i figuruje pod numerem CAS: 7439-92-1. Pełny wykaz substancji znajduje się na stronie Agencji Chemikaliów Parlamentu Europejskiego, dostępnej tutaj >>>

Zastosowanie:

Oryginalny kran z zaworem kulowym GEKA®, który służy do kontroli przepływu medium (takiego jak woda, gaz czy olej) przez instalację. Nazwa własna "GEKA" jest zastrzeżona tylko dla produktów firmy KARASTO Armaturenfabrik Oehler GmbH. Tylko stosowanie oryginalnych produktów daje gwarancję jakości wykonania oraz poprawności parametrów technicznych zagwarantowanych przez producenta. Zawory kulowe cechują się prostą konstrukcją, szybkim działaniem oraz wysoką niezawodnością, co sprawia, że są powszechnie stosowane w przemyśle. Zasada działania zaworu kulowego opiera się na obrotowej kuli z otworem, która umieszczona jest we wrzecionie zaworu. Kula ta może obracać się o 90 stopni, co pozwala na otwarcie lub zamknięcie przepływu medium. Gdy otwór w kuli jest zgodny z kierunkiem przepływu medium, zawór jest otwarty, co pozwala na swobodny przepływ. Natomiast gdy kula zostaje obrócona o 90 stopni, otwór staje się prostopadły do kierunku przepływu, blokując go całkowicie. Obrót kuli w zaworze kulowym może być kontrolowany za pomocą dźwigni, pokrętła.

Zawory kulowe są cenione za swoją prostą konstrukcję, łatwość obsługi, szybkie otwieranie i zamykanie, niskie opory przepływu oraz długą żywotność. Ze względu na te zalety, znajdują zastosowanie w różnych dziedzinach przemysłu, takich jak przemysł chemiczny, spożywczy, farmaceutyczny, energetyczny czy instalacje wodociągowe i gazowe.

Ponieważ zawór działa na zasadzie otwórz / zamknij, nie nadaje się do regulacji siły przepływu strumienia medium, co jednocześnie zapobiega jego „przeciekaniu”, które łatwo przeoczyć. Zawór w momencie gdy stwierdzimy drobne wycieki, jest niesprawny i wymaga wymiany.

Kran posiada gwintowane zewnętrznie przyłącze do instalacji, z sześciokątnym pierścieniem umożliwiającym montaż za pomocą klucza. Na jego przyłączu znajduje się odkręcany króciec do węża z wkładką z tworzywa sztucznego, z ryflowaną nakrętką, dzięki czemu można ją łatwo zdemontować bez używania narzędzi. Gwintowane połączenie umożliwia wymianę końcówki, lub gdy jest na króćcu zamontowany wąż, podłączenie innego z tym samym rozmiarem gwintu.



Interesują Cię inne produkty, potrzebujesz fachowego doradztwa?
Zadzwoń do nas, a nasi specjaliści dobiorą produkty dostosowane do Twoich potrzeb.
kontakt do firmy Intertech
Korzystamy z zabezpieczeń Google reCAPTCHA.
Obowiązują Polityka prywatności, Warunki użytkowania usług Google oraz Polityka prywatności INTERTECH.
Copyright 2026 INTERTECH Importer węży i złączy dla przemysłu. Wszelkie prawa zastrzeżone. Developed by Cansoft sp. z o.o.